Beschrijving
ONYX Ultra SS ISO 10mm rear hub 36H
Machined from high-end aluminum, the ONYX Ultra SS rear hub offers BMX riders the famous quality of ONYX products made in the USA. It is equipped with the ONYX instant engagement system offering you direct engagement without any friction when pedaling. It is mounted on hybrid-ceramic bearings which have a very low coefficient of friction and excellent power transfer. It is also equipped with a 6 screw ISO type disc holder for riders with disc brakes.
FEATURES :
• CNC machined 7075-T6 aluminum body
• Sealed hybrid-ceramic bearings
• ISO disc rotor bracket
• Aluminum freehub body – ONYX SS standard
• ONYX Instant engagement
• Aluminum axle body
• BTR screw tightening
• Axle diameter: 10mm
• Width: 110mm
• Drilling: 36 holes
• Weight: 575g
Cog not included
NOTE: color shade may vary slightly depending on production run
ONYX hubs require regular maintenance to maintain fully operational

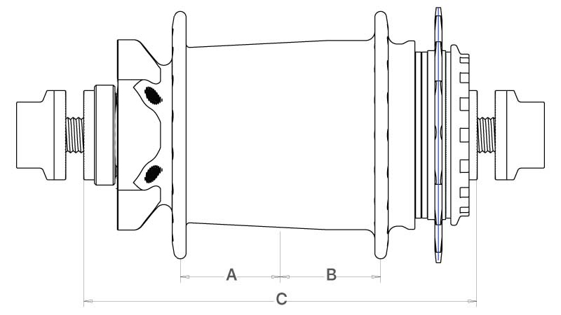
| A – Hub Center To Flange Center, Non-Drive Side | 20.27mm |
|---|---|
| B – Hub Center To Flange Center, Drive Side | 28mm |
| C – Axle Width | 110mm |
| Spoke Hole Circle Diameter, Drive Side | 60mm |
| Spoke Hole Circle Diameter, Non-Drive Side | 60mm |
| Spoke Hole Counts | 36 |
| Spoke Tension | 120kgf Max |















